 
                    +7 (495) 777-17-71
                        info@tool-tech.ru
                        
                    8 (800) 775 40 55
                        Звонок из регионов России
бесплатный!
                    бесплатный!
                        Профессиональный строительный инструмент и оборудование
                        
                            
                        
                    
                                            Каталог инструментов
                        
                        
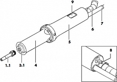
                                    Сварочный термофен Leister Diod PID
 
				
				
			Сварочный термофен Leister Diod PID (Ляйстер Диод ПИД) – удобный, высокомощный, ручной сварочный аппарат с отдельной подачей воздуха (осуществляется при помощи тепловентиляторов Robust или Minor), плавной цифровой регулировкой температуры и дисплеем, отображающим значения заданной и реальной температуры. Используется для сварки листов, труб, пленок, гидроизолирующих покрытий, технической ПВХ-ткани, пластмассовых деталей, термопластичных материалов (сварка прутком, сварка внахлест, сварка плавлением); усадки термоусадочных трубок и муфт; процессов нагрева и сушки.
Производитель: LEISTER (ЛЯЙСТЕР) – Швейцария.
Преимущества сварочного термофена Leister Diod PID:
- Стабильно высокое качество сварного шва за счет электронной регулировки температуры, независимо от колебаний напряжения в сети
- Индикация заданной и реальной температуры сварки на дисплее
- Применяется с тепловентилятором Minor, Robust или со сжатым воздухом
- В сочетании с тепловентилятором Minor подходит для мобильной эксплуатации
- Электронная защита нагревательного элемента от перегрева
- Охлаждаемая защитная трубка
- Высокая скорость сварки за счет увеличенного расхода воздуха
| Изображение | Артикул | Наименование | 
| 100.303 | Стандартная насадка ∅ 5 мм, насаживаемая | |
| 105.578 | Версия усиленная | |
| 106.992 | Насадка быстрой сварки 5.7 мм, профиль A, для профильного прутка насаживается на стандартную насадку ∅ 5 мм | |
| 106.993 | Насадка быстрой сварки 7 мм, профиль B, для профильного прутка насаживается на стандартную насадку ∅ 5 мм | |
| 106.989 | Насадка быстрой сварки 3 мм для профильного прутка насаживается на стандартную насадку ∅ 5 мм | |
| 106.990 | Насадка быстрой сварки 4 мм для профильного прутка насаживается на стандартную насадку ∅ 5 мм | |
| 106.991 | Насадка быстрой сварки 5 мм для профильного прутка насаживается на стандартную насадку ∅ 5 мм | |
| 106.996 | Насадка для прихватки, насаживается на трубную насадку ∅ 5 мм | |
| 105.622 | Стандартная насадка ∅ 5 мм, навинчиваемая | |
| 106.988 | Насадка для прихватки, навинчиваемая | |
| 113.666 | Насадка для быстрой сварки ∅ 3 мм с клином, навинчиваемая | |
| 113.399 | Насадка для быстрой сварки ∅ 4 мм с клином, навинчиваемая | |
| 113.876 | Насадка для быстрой сварки ∅ 3 мм без клина, навинчиваемая | |
| 113.874 | Насадка для быстрой сварки ∅ 4 мм без клина, навинчиваемая | |
| 113.670 | Насадка быстрой сварки 5,7 мм с клином, навинчиваемая | |
| 113.877 | Насадка быстрой сварки 5,7 мм без клина, навинчиваемая, профиль A | |
| 106.986 | Насадка быстрой сварки 7 мм, навинчиваемая, профиль B | |
| 106.987 | Насадка быстрой сварки 7 × 5,5 мм, навинчиваемая | |
| 126.552 | Насадка для сварки ∅ 4 мм, навинчивается, для фторопластов | |
| 107.348 | Подставка | |
| 100.296 | Hагревательный элемент 230 В / 1550 Вт | 
Цена и технические характеристики сварочного термофена Leister Diod PID:
Технический паяльный фен
- 
					Алмазные коронки по железобетону Kern Diamond Bit Concrete Premium 172 ммДиаметр: 172 ммРабочая длина: 450 ммЦена: 22 100 руб.
- 
					Алмазные коронки по железобетону Kern Diamond Bit Concrete Premium 330 ммДиаметр: 330 ммРабочая длина: 450 ммЦена: 48 800 руб.
- 
					Отрезная машина по металлу Alteco CM 2000-355 BDДиаметр труб: ≤ 105 ммМощность: 2 кВтЦена: 13 136 руб.
- 
					Сварочный автомат горячего воздуха СварПом СП41 40 мм 380 ВШирина сварного шва: 40 ммСкорость сварки: 1 - 10 м/минЦена: 473 560 руб.
- 
					Эксцентриковый развальцовщик Kern KFT-I 45Ø труб: 3/16"-1/4"-5/16"-3/8"-1/2"-5/8"-3/4"Угол бортиков: 45°Цена: 13 500 руб.
- 
					Алмазные коронки по железобетону Kern Diamond Bit Concrete Premium 425 ммДиаметр: 425 ммРабочая длина: 450 ммЦена: по запросу
- 
					Трубогиб электрический гидравлический Kern до 2"Диаметр труб: 1/2" - 2"Мощность: 0,75 кВтЦена: 172 466 руб.
- 
					Алмазные коронки по железобетону Kern Diamond Bit Concrete Premium 40 ммДиаметр: 40 ммРабочая длина: 450 ммЦена: 6 000 руб.
Новости
- 
								21.11.2024Поступление желобонакатчиков GruvMaster - Новинка на Российском рынке!
- 
								27.12.2023С новым 2024 годом!
- 
								20.12.2022Режим работы в Новогодние праздники
- 
								12.10.2022ФСБ сообщила о попытке теракта с ПЗРК «Игла» в Подмосковье
- 
								08.12.2020Гибридная модель IBM для облачных вычислений
 
				







Отзывы
Оставьте Ваш отзыв